


马年首个工作日,江苏科创板块传来好消息,盛合晶微半导体(江阴)有限公司(下称“盛合晶微”)顺利过会。
本次冲击上市,盛合晶微拟募集资金48亿元,募资规模位居近年国内先进封测企业IPO前列。
据悉,盛合晶微于2025年10月30日正式递交科创板IPO申请并获受理,至过会仅耗时117天。
在科创板改革落实落地持续推进背景下,半导体、人工智能等领域的硬科技企业加速对接资本市场,但盛合晶微的117天,依然堪称传奇。


2月24日,上交所官网显示,盛合晶微科创板IPO已成功通过上交所上市审核委员会审议,成为马年首家科创板过会企业。
公开资料显示,盛合晶微成立于2014年8月,总部位于江苏无锡江阴。

公司是一家集成电路晶圆级先进封测企业,专注于集成电路先进封测产业的中段硅片加工和后段先进封装环节。
盛合晶微的境内运营主体(原名“中芯长电”)由中芯国际与长电科技于2014年设立。
设立之初专注于12英寸中段硅片加工,后进一步拓展至提供晶圆级封装(WLP)和芯粒多芯片集成封装等全流程的先进封测服务,可支持各类高性能芯片如图形处理器(GPU)、中央处理器(CPU)、人工智能芯片等。
目前,盛合晶微已经成为中国大陆在芯粒多芯片集成封装领域起步最早、技术最先进、生产规模最大、布局最完善的企业之一。
根据Gartner统计,2024年度,盛合晶微是全球第十大、境内第四大封测企业,且2022年至2024年营业收入复合增长率达69.77%,在全球前十大企业中位居第一。

这场被市场称为“超级IPO”的闯关之路,从一开始就自带加速度。
2025年10月30日,盛合晶微正式递交科创板IPO申请并获上交所受理;2月24日,马年新春后首个审核日,公司顺利通过科创板上市委审议,全程仅用117天。

更值得关注的是,此次IPO盛合晶微拟募资48亿元,其中40亿元用于三维多芯片集成封装项目,8亿元用于超高密度互联三维多芯片集成封装项目。
募资规模位居近年国内先进封测企业IPO前列,其“超级”不仅体现在速度,更在于规模与战略价值。


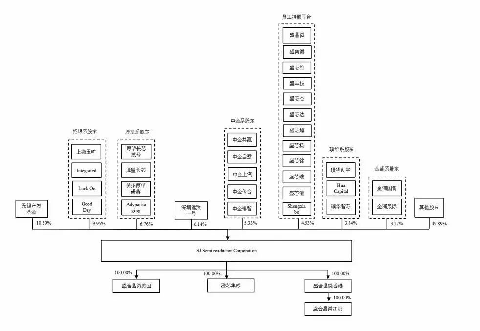
从股权架构来看,最近两年内,盛合晶微无控股股东且无实际控制人。
截至招股书签署日,盛合晶微第一大股东无锡产发基金持股比例为10.89%,是公司长期战略投资者。

地方国资出资,大多承载着当地产业发展的目标。无锡产发基金的出现,不仅为企业注入巨额发展资金,更凭借地方产业链资源,助力盛合晶微对接上下游企业、扩大产能布局。
第二大股东招银系股东合计控制股权比例为9.95%,涵盖招商证券投资等多家主体,其多元的金融资源不仅为盛合晶微提供了资金保障,更在IPO保荐、产业链资源整合等方面发挥了重要作用。
第三大股东厚望系股东合计持股比例为6.76%,第四大股东深圳远致一号持股比例为6.14%,第五大股东中金系股东合计持股比例为5.33%。
公司任何单一股东均无法控制股东会且不足以对股东会决议产生决定性影响。
此外,盛合晶微设立了12家员工持股平台,合计持股约4.53%,覆盖核心技术与管理团队,通过激励机制,稳定了核心人才队伍,为企业的技术研发与持续发展提供了保障。

值得注意的是,公司无实控人的治理架构,并未影响经营决策的稳定性。公司董事会由9名董事组成,前五大股东各委派1名非独立董事,公司称治理机制有效运行且股东已出具不谋求控制权的承诺。
这种多元制衡的股权结构,既避免了单一股东对企业经营的过度干预,又能充分整合各方资源,是盛合晶微能够快速发展、高效完成IPO的重要制度保障。

文中观点仅为作者观点,不代表本平台立场
